欢迎访问广东鸿翔保安服务有限公司官方网站!

  三十年不变

专注保安工作

联系我们
服务热线:

0752-2566398

服务电话: 
135-0018-6088(周先生)
135-0018-6369(郑先生)
135-0018-1866(梁先生)

公司网址:www.gdhxba.com

地址:惠州市惠阳区淡水镇爱民东路42号

企业安全评估




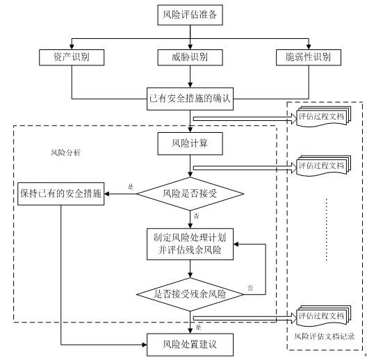
安全风险评估的流程


企业安全评估实施